多用户商城系统新增扫码送余额功能

为了让会员能使用平台提供的商户扫码收银功能,可以将商户给平台的一部分利益转移给消费者。从而提升会员使用扫码收银的积极性。如:扫码送积分,扫码送现金等。扫码送积分是我们系统已有的功能,本次升级的是扫码送现金功能!

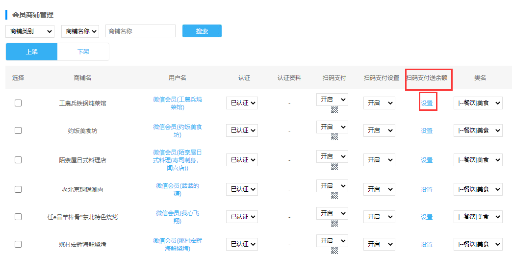
一、开启微商铺功能,在会员商铺管理中设置各个商家的返现比例。


图片


图片


二、开启扫码支付功能后,每个商户会有自己的扫码支付二维码,会员也可以通过平台商家列表直接找到扫码买单的入口。


当会员下单后,将会根据在线支付金额x赠送比例,计算出赠送的余额金额发放至下单会员的余额账户中.如果设置了短信提醒,用户余额发生变化时将会提醒会员。


图片



三、扫码支付支持不同商家设置不同的扫码优惠活动,如:某个时间,某些商家,打几折等


图片


以上功能,可以很好的将会员粘性做上来,快来试试吧~


推荐

  • QQ空间

  • 新浪微博

  • 人人网

  • 豆瓣

收起

取消
在线客服系统在线咨询